石英玻璃管液位計


![]() |
石英玻璃管液位計概述
石英玻璃管液位計是采用國內外*新高科技研制而成,它是普通玻璃板液位計更新換代產品,它**應用于石油、化工、電力、冶金等行業各種透明液體容器和鍋爐上,如:水、汽油、液化氣、液氨、丙安、丙烷、丙烯、芳烴、酸等油品和化工原料的液位測量,同時適用于二種不同介質密度的界面測量。彩色液體計安裝在各種容器及鍋爐上,直接觀測到液位變化,液相顯示呈現綠色,氣相顯示現呈紅色,界面測量呈三色分界面。液、氣顯示反差很大,在遠距離觀察、夜間巡視鮮明明清晰。它成功 地克服了普通板式液位計笨重,密封面積大,易滲漏,顯示不清晰在很近距離易判斷的缺點。
石英玻璃管液位計主要技術參數
1、特制的99.99%Si02透明石英管,其變形點1077℃,軟化點1730℃,抗壓強度1170Kg/cm3,膨脹系統數5.5*10的負7次方,經特殊工藝處理后具有耐高溫,高壓和優良的機械特性。
2、工作壓力:1.6、2.5、4.0、6.3MPa
3、工作溫度:-50~+520℃
4、測量范圍L:測量范圍按中心中期則制定:300、500、800、1100、1400、1700、2000mm鍋爐水位計:300、400、440 mm,特殊規格請注明尺寸。
5、伴熱蒸汽夾套:工作壓力1.0MPa, 接管尺寸G1/2內螺紋。
6、法蘭連接尺寸:采用化工部*新實施的HG20592-2063597法蘭標準
7、用戶采用其他法蘭標準,請在訂貨時注明。
8、鋼球自動封閉壓力:大于0.2MPa
9、重量:15-30Kg
石英玻璃管液位計特點
液、氣相顯示清晰、無盲區、密封性能好、耐高溫、高壓、防粘稠、重量輕、壽命長、無泄漏、結構簡單、沖洗維護方便。
石英玻璃管液位計選型說明
|
產品名稱
|
型號
|
用途及命使用場合
|
公稱壓力
|
|
彩色液位計
|
UNS-A-1
UNS-B-1 UNS-C-1 |
測量透明無色液位,界面且光線較好場合
|
1.6MPa
2.5MPa 4.0MPa 6.3MPa |
|
彩色液位計
|
UNS-A-2
UNS-B-2 UNS-C-2 |
在UNS-□1附有蒸汽伴熱 夾套,天氣寒冷場合
|
|
|
彩色液位計
|
UNS-A-3
UNS-B-3 UNS-C-3 |
UNS-□1附加防霜裝置,使用于低溫介質,避免低溫介質造成外表凝霜
|
|
|
彩色液位計
|
UNS-A-4
UNS-B-4 UNS-C-4 |
測量有色液體液位,界面且光線較弱,夜間監測場合,在UNS-□1附有照明裝置
|
|
|
彩色液位計
|
UNS-A
|
液位計兩端為閥門,閥門帶安全裝置。當石英管意外破損,防止容器內介質外流,由于閥門 通道比較小,所以只適合測量低粘度介質
|
|
|
彩色液位計
|
UNS-B
|
兩端采用三通法蘭連接,無安全裝置。由于口徑為20mm, 可測量較粘稠介質的液位
|
|
|
無盲區彩色液位計
|
UNS-C
|
兩端采用三通法連接,無安全裝置。由于口徑為20mm,可測量較粘稠介質的液位;測量范圍與顯示高度同等。
|
|
石英玻璃管液位計安裝示意圖

一、儀表概述:
石英玻璃管液位計可用來直接指示密封容器中的液位高度,具有結構簡單,直觀可靠,經久耐用等優點,但容器中的介質必須是與鋼、鋼紙及石墨壓環不起腐蝕作用的。
儀表的上下閥上裝有法蘭接頭,與容器連接構聯通器,透過玻璃管直接指示容器,液位,“夾套型”設有加熱或冷卻裝置。該裝置加熱時可用蒸氣,冷卻時可用循環水,這樣可以調節流動性能,夾套型接管尺寸ZG1/4內螺紋。
在上下閥內裝有鋼球,當玻璃管因意外事故破壞時,鋼球在容器壓力作用下,自動密封,防止容器內的液體繼續外流。
在儀表的上端針形閥裝有阻塞螺釘,可供放氣之用,下端針形閥也裝有阻塞螺釘。可供放空、取樣、排污、清洗。
二、測量原理:
玻璃管液位計是基于連通器原理設計的,由主體構成的液體通路是經接管用法蘭或錐管螺紋與被測容器連接構成連通器,透過玻璃管觀察到的液面與容器內的液面相同即液位高度。 液位計兩端的針型閥不僅起截止閥的作用,其內部的鋼球具有逆止閥的功能,當液位計發生意外破損泄漏時,鋼球可在介質壓力作用下自動關閉液體通道,防止液體大量外流起到安全保護作用。液位計改變零件的材料或增加一些附屬部件即可達到防腐、保溫、防霜、照明等功能。
三、適用場合:
石英玻璃管液位計用來直接指示承壓容器和敞口容器中的液位高度,其特點是指示的液位無盲區,它改變了以往無盲區組合式笨重、體積大、難觀察等缺陷,它完善了主體通道結構、介質流動通暢,并增強了儀表的防粘稠,防堵塞能力,**用于石油、化工、電力、冶金等領域,特別適用重油、渣油和純氨大貯罐的液位指示。
四、性能特點:
1、顯示清晰、無盲區、無間斷、連續指示;
2、不滲漏,不堵塞;
3、維護方便。
五、技術指標:
1、測量范圍: 300、500、800、1100、1400、1700……mm ;
2、工作壓力: 6.3MPa;
3、工作溫度: ≤200℃;
4、閥門自動封閉壓力差:0.2MPa ;
5、蒸汽夾套接頭:G1/2″外螺紋;
6、過程連接: ZW-UWB型連接螺紋:外螺紋G3/4″或M27×1.5;
7、連接法蘭:HG20592~20635-97DN20~DIN)請用戶任訂貨時注明;
8、接液材質:耐熱碳素鋼;不銹鋼。
六、液位計分類及使用范圍如下:
1、伴熱型玻璃管:主要用于被測介質需要保溫的場合;
2、防霜型玻璃管:主要用于被測介質操作溫度為-196~0℃,玻璃易結霜的場合;
3、無盲區型玻璃管:主要用于需要連續觀測,可視范圍內不允許有盲區的場合;
4、雙色型玻璃管:主要用于介質為無色透明液體,不易觀測液位的場合;
5、防紫外線型玻璃管:主要用于被測介質怕紫外線照光的場合;
6、寬液室型玻璃管:主要用于被測介質黏度比較大或者是要求儀表的容積比較大的場合;
7、照明型玻璃管:主要用于夜間需要觀測的場合。
七、玻璃管式液位計與玻璃管液位計的區別:
液位計是一種常用的流量測量儀器,在多個行業中都有一定的應用。液位計的種類是非常多的,其中玻璃管液位計和玻璃管式液位計都是常用的類型,大家對于兩者之間的區別都了解過嗎?今天小編就來為大家具體介紹一下玻璃管液位計與玻璃管式液位計的區別吧,希望可以幫助到大家。
玻璃管式液位計:
玻璃管式液位計根據使用要求可有各種形式,要求不高的可以因陋就簡自制,精密容器的液位可用較平直光滑和粗的玻璃管(使毛細現象減小)加上較精密的游標刻度尺來讀數。
在與容器連通的玻璃管中安有浮動磁鋼(又稱浮子)1,在玻璃管外面上下端各裝以干簧繼電器2,如這樣,當浮子接近千簧繼電器時,繼電器產生開關動作,就可以對液位的上下限進行控制或報警。
玻璃管式液位計適用于較低壓力的、敞口或密封容器液位的直接指示。
玻璃管式液位計:
它的結構為在厚實的鋼化玻璃管1上開以細槽,下端用金屬管2與容器被測液體相連,上端用金屬管3與容器液面上空問相連,與容器相連處裝有閥4,以便操作。
玻璃管式液位計能耐較高的壓力(可達40公斤力/平方厘米),能測多種介質的液位(如水、弱堿、氨液、各種油品、丙銅、苯、異丙醉等),如果要測從較大量程的液位,如3-4米時,可以把好幾段玻璃管連接起米,組成既有較大量程,又耐較高壓力的玻璃管式液位計。
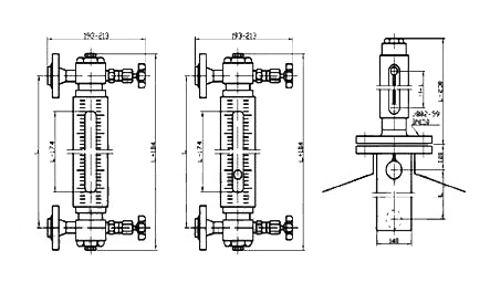
八、外型尺寸圖:
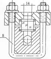
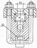
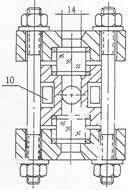
1.針型閥 2.本體 3.壓蓋 4.襯墊 5. 玻璃管 6.螺母 7.墊片 8.U型螺栓 9.螺柱 10.加熱夾套
|
|
|
|
|
|
九、液位計的安裝、使用與維護:
1、為了保證自動密超過計劃作用,容器內的介質壓力不得小于0.2MPa,在打開上下閥時,閥桿退出轉數不少于4轉(使鋼球封門時,不致于碰到閥桿的**)。
2、使用中的儀表應定期檢查。清洗玻璃管內外壁污垢,使液位顯示清晰。
3、檢修裝配玻璃管在旋緊螺栓時,要密切注意玻璃管受力不均而破碎。因此,螺栓須嚴格按圖示1、2、3┈┈┈10、11、12順序交叉地分多次夾緊玻璃管。
十、選型一覽表:
|
ML-UWB |
|
|||||||
|
|
1 |
透光式,一般用于無色透明的液體,光線較好的場合 |
基本類型 |
|||||
|
2 |
透光式帶蒸汽夾套,用于粘稠、易凍的液體介質 |
|||||||
|
3 |
反射式,一秀般用于稍有色澤的液體,且光線較好的場合 |
|||||||
|
4 |
反射式帶蒸汽夾套,用于粘稠、易凍的液體介質 |
|||||||
|
5 |
防霜式,用于低溫場合 |
|||||||
|
6 |
照明式,用于光線較差的場合 |
|||||||
|
|
G |
改進型,對ASD-UWB為法蘭連接 |
安裝形式 |
|||||
|
|
A |
碳鋼 |
主體材質 |
|||||
|
B |
1Cr18Ni9Ti或304SS |
|||||||
|
|
|
C |
316SS或316L |
|||||
|
|
|
|
1 |
300mm |
4 |
1100mm |
測量范圍 |
|
|
|
|
|
2 |
500mm |
5 |
1400mm |
||
|
|
|
|
3 |
800mm |
6 |
1700mm |
||
十一、訂貨時請提供下列參數:
1、型號規格;
2、被測介質名稱:介質密度:如果不知道密度,可以告訴我們介質的名稱,混合液體要知道由哪幾種液體組成;
3、儀表測量范圍:也可稱為公稱長度,也就是兩個法蘭的中心距離;
4、工作壓力:zui高承受壓力;
5、工作溫度:測量液體的zui低、zui高溫度;
6、材質要求:接液材質,如不知道用哪種材質,可以向我們咨詢(一般裝液體的是什么材質我們就可以用什么材質);
7、是否配套供應法蘭、螺栓、螺母、閥門、密封墊圈等配件;
8、法蘭標準:法蘭的公稱通徑,使用zui多的法蘭是DN20或DN25;
9、特殊要求:請在訂貨前詳細注明,如是否要帶遠傳、保溫夾套等等。









